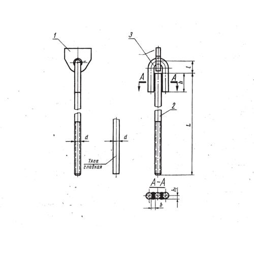
Проушины с тягой подвесок стальных трубопроводов

Не нашли нужный товар? Обратитесь с заявкой на наш электронный адрес: info@kastmiron.by 
В наличии на складе все ГОСТ, ТУ, DIN! Изготавливаем и привозим под заказ Ваши размеры.

Проушины с тягой подвесок стальных трубопроводов: надежность и долговечность ваших систем

Компания «Кастмирон» предлагает широкий ассортимент проушин с тягой для подвески стальных трубопроводов – незаменимых элементов для создания надежных и долговечных систем транспортировки жидкостей и газов. Эти изделия обеспечивают безопасное и стабильное крепление трубопроводов, предотвращая их провисание и вибрации, что критически важно для бесперебойной работы всей системы.

Что такое проушины с тягой подвесок стальных трубопроводов? Это специальные крепежные элементы, состоящие из проушины (кольца) и тяги (стержня), предназначенные для фиксации трубопровода к несущим конструкциям. Проушина обеспечивает точку крепления, а тяга позволяет регулировать натяжение и высоту подвеса, обеспечивая оптимальное положение трубопровода.

Области применения:

Проушины с тягой подвесок стальных трубопроводов широко используются в различных отраслях промышленности:

  • Нефтегазовая промышленность: Обеспечение надежной фиксации трубопроводов для транспортировки нефти, газа и нефтепродуктов.
  • Химическая промышленность: Крепление трубопроводов для агрессивных сред, требующих высокой коррозионной стойкости.
  • Энергетика: Монтаж трубопроводов на тепловых и атомных электростанциях.
  • Водоснабжение и канализация: Надежное крепление трубопроводов для питьевой воды и сточных вод.
  • Строительство: Использование в системах отопления, вентиляции и кондиционирования.

Преимущества выбора «Кастмирон»:

Мы предлагаем проушины с тягой, изготовленные на современном европейском оборудовании, что гарантирует высокое качество и долговечность продукции. В нашем каталоге представлены изделия различных типоразмеров и материалов, позволяющие подобрать оптимальный вариант для любых условий эксплуатации.

Наши преимущества:

  • Наличие на складе и под заказ: Мы гарантируем оперативную поставку необходимых вам изделий.
  • Быстрая доставка по всей Беларуси: Сотрудничаем с надежными транспортными компаниями.
  • Работа с промышленными предприятиями: Индивидуальный подход к каждому клиенту и гибкая система скидок.
  • Редкие позиции в наличии: Мы предлагаем широкий выбор, включая редкие и труднодоступные изделия.
  • Коммерческое предложение за 30 минут: Оперативная обработка ваших запросов.

Обращайтесь к нам! Наши специалисты помогут вам подобрать оптимальные проушины с тягой для подвески стальных трубопроводов, учитывая все ваши потребности и особенности проекта. Свяжитесь с нами по телефону или оставьте заявку на сайте – мы гарантируем высокое качество продукции и оперативное обслуживание!

Прямые поставки

без посредников

Отсрочка платежа

до 30 дней

Редкие позиции

в наличии и под заказ

Быстрая доставка

за 1-2 дня

Вы смотрели
от 10.00 р.
от 10.00 р.
от 10.00 р.