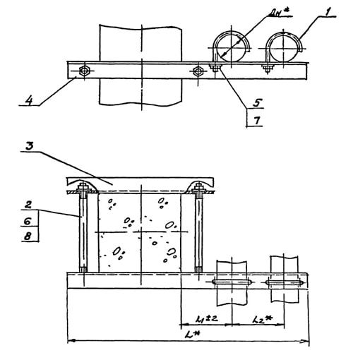
Крепление двух трубопроводов к колонне

Не нашли нужный товар? Обратитесь с заявкой на наш электронный адрес: info@kastmiron.by 
В наличии на складе все ГОСТ, ТУ, DIN! Изготавливаем и привозим под заказ Ваши размеры.

Крепление двух трубопроводов к колонне: Надежное решение для вашей промышленности

Надежное и эффективное крепление двух трубопроводов к колонне – залог бесперебойной работы вашего предприятия. Компания "Кастмирон" предлагает широкий выбор высококачественных решений для фиксации трубопроводов различного диаметра и материала к различным типам колонн. Мы поставляем продукцию, отвечающую самым строгим стандартам качества и безопасности, гарантируя долговечность и надежность ваших инженерных систем.

Для чего используется крепление двух трубопроводов к колонне? Это незаменимый элемент в различных отраслях промышленности, где требуется надежная фиксация трубопроводов, транспортирующих жидкости, газы или другие среды. Правильное крепление предотвращает вибрации, провисание и повреждение трубопроводов, обеспечивая безопасность персонала и оборудования.

Области применения:

Наши решения для крепления двух трубопроводов к колонне широко применяются в:

  • Нефтегазовой промышленности
  • Химической промышленности
  • Энергетике
  • Металлургии
  • Пищевой промышленности
  • Строительстве

Преимущества выбора "Кастмирон":

Выбирая "Кастмирон", вы получаете:

  • Широкий ассортимент: Мы предлагаем различные типы креплений, подходящие для разных диаметров труб, материалов колонн и условий эксплуатации. В наличии и под заказ.
  • Высокое качество: Наша продукция изготавливается на современном европейском оборудовании из высококачественных материалов, гарантируя долговечность и надежность.
  • Быстрая доставка: Мы обеспечиваем оперативную доставку по всей Беларуси.
  • Индивидуальный подход: Мы работаем с предприятиями различного масштаба, предлагая индивидуальные решения для каждой конкретной задачи. Обращайтесь к нам, и мы подберем оптимальный вариант крепления именно для вас.
  • Наличие редких позиций: У нас вы найдете даже редкие и труднодоступные элементы крепежа.
  • Быстрое оформление заказа: Мы подготовим коммерческое предложение в течение 30 минут!

Сотрудничество с производителями:

Мы активно сотрудничаем с ведущими производителями строительных материалов и оборудования, что позволяет нам предлагать нашим клиентам продукцию высочайшего качества по конкурентоспособным ценам. Обращайтесь к нам – мы поможем вам выбрать оптимальное решение для крепления двух трубопроводов к колонне, учитывая все особенности вашей технологической схемы.

Свяжитесь с нами сегодня, чтобы получить консультацию специалиста и узнать больше о наших предложениях!

Прямые поставки

без посредников

Отсрочка платежа

до 30 дней

Редкие позиции

в наличии и под заказ

Быстрая доставка

за 1-2 дня

Вы смотрели
от 10.00 р.
от 10.00 р.
от 10.00 р.
от 10.00 р.