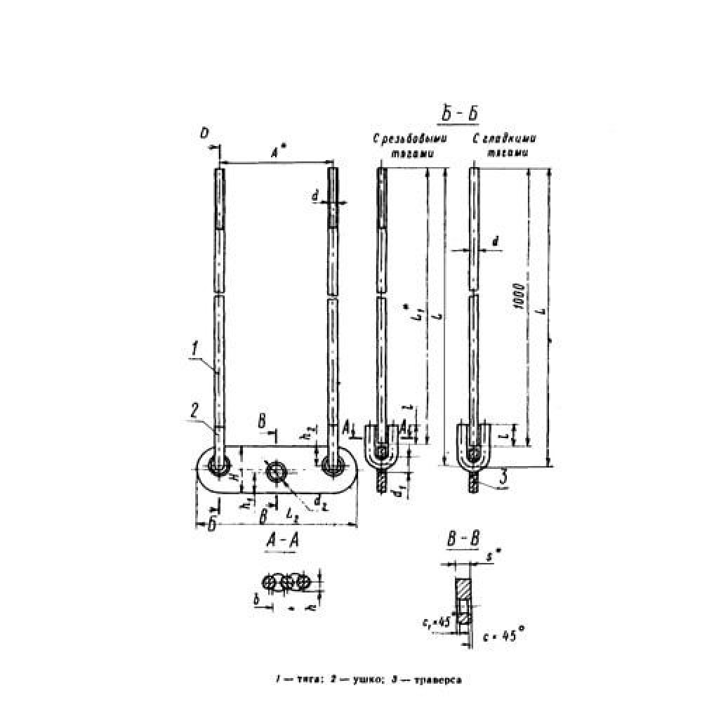
Тяги с траверсой для подвесок трубопроводов 16x4.67x15 мм 15Х5М ОСТ 108.632.09-80

Не нашли нужный товар? Обратитесь с заявкой на наш электронный адрес: info@kastmiron.by 
В наличии на складе все ГОСТ, ТУ, DIN! Изготавливаем и привозим под заказ Ваши размеры.
  • Марка: 15Х5М
  • Код Товара: id.50092070614
  • В наличии
от 3.19 р.
Купить в один клик
Введите номер телефона и мы перезвоним
Основные характеристики
Все характеристики
Марка: 15Х5М
Гост: ОСТ 108.632.09-80
Диаметр: 16
Доставка

по всей Беларуси

Сертификаты

на всю продукцию

  • Описание
  • Характеристики
  • Оплата и доставка
  • Где купить?

Тяги с траверсой для подвесок трубопроводов 16x4.67x15 мм 15Х5М ОСТ 108.632.09-80 - надежное решение для предприятий и частных заказчиков. Марка 15Х5М соответствует требованиям промышленного стандарта ОСТ 108.632.09-80 и подходит для применения в строительстве, производстве, машиностроении и энергетике, где требуется устойчивость к нагрузкам и стабильные эксплуатационные характеристики. Тяги с траверсой для подвесок трубопроводов от компании Кастмирон - это прямые поставки от проверенных заводов-производителей, точность параметров и долговечность при интенсивной работе.

Технические характеристики

Марка 15Х5М
Гост ОСТ 108.632.09-80
Диаметр 16
Допуск. нагр. кН 15
Масса, кг 4.67

Где купить Тяги с траверсой для подвесок трубопроводов 16x4.67x15 мм 15Х5М ОСТ 108.632.09-80?

Свяжитесь с нами и получите исчерпывающую консультацию по ассортименту. Уточните сроки и условия поставки. Мы подготовим коммерческое предложение в течение 30 минут после обращения и обеспечим полный цикл поставки - от подбора материала до отгрузки и логистики.

Часто задаваемые вопросы

Можно ли заказать в размер?

Да. Компания Кастмирон выполняет резку и комплектацию металлопроката по заявке клиента. Укажите нужные размеры при оформлении заказа.

Есть ли доставка по Беларуси?

Да, доставка осуществляется со склада в Минске по всем регионам Беларуси. Возможна отгрузка транспортными компаниями или самовывоз.

Как подтверждается качество ?

Вся продукция сертифицирована и соответствует требованиям ГОСТ. Каждая партия сопровождается паспортом качества и документами от производителя.

Можно ли купить оптом?

Да, Кастмирон работает с оптовыми и розничными заказами. Для оптовых покупателей предусмотрены специальные цены и гибкие условия поставки.

Контроль качества
Вся продукция соответствует требованиям производства и проходит контроль качества перед отправкой
О компании
Контроль качества
Резка в размер
Возможна резка материала в размер и комплектация под запрос заказчика
Заказать
Резка в размер
Прямые поставки

без посредников

Отсрочка платежа

до 30 дней

Редкие позиции

в наличии и под заказ

Быстрая доставка

за 1-2 дня