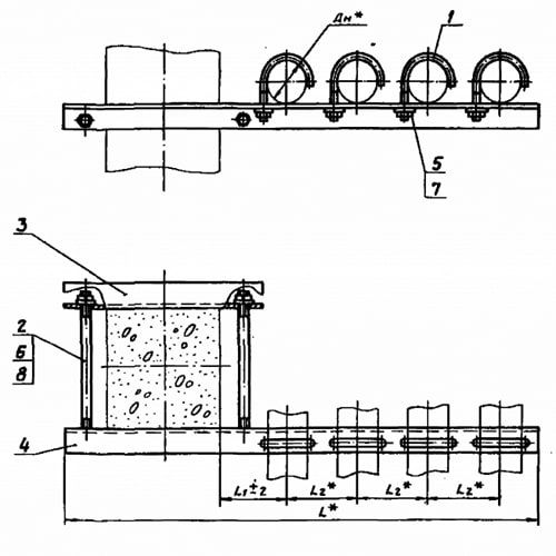
Крепление четырех трубопроводов к железобетонной колонне

Не нашли нужный товар? Обратитесь с заявкой на наш электронный адрес: info@kastmiron.by 
В наличии на складе все ГОСТ, ТУ, DIN! Изготавливаем и привозим под заказ Ваши размеры.

Крепление четырех трубопроводов к железобетонной колонне

Надежное и безопасное крепление трубопроводов – залог бесперебойной работы любого промышленного объекта. Компания "Кастмирон" предлагает высококачественные решения для фиксации четырех трубопроводов к железобетонным колоннам, гарантируя долговечность и устойчивость всей системы. Наши крепления разработаны с учетом высоких нагрузок и вибраций, характерных для многих промышленных процессов.

Для чего используется данное крепление? Крепление четырех трубопроводов к железобетонной колонне предназначено для надежной фиксации и поддержки трубопроводов, транспортирующих различные среды: воду, газ, нефтепродукты, пар и другие жидкости или газы. Это предотвращает провисание труб, снижает риск повреждений и обеспечивает безопасность персонала и оборудования.

Области применения:

Наши крепления широко применяются в различных отраслях промышленности:

  • Нефтегазовая промышленность: Крепление магистральных и технологических трубопроводов на нефтеперерабатывающих заводах, газокомпрессорных станциях и других объектах.
  • Химическая промышленность: Фиксация трубопроводов, транспортирующих агрессивные среды, в химических цехах и на производствах.
  • Энергетика: Крепление трубопроводов на тепловых электростанциях, атомных электростанциях и других энергетических объектах.
  • Водоснабжение и канализация: Надежная фиксация трубопроводов в системах водоснабжения и водоотведения.
  • Строительство: Использование в крупных строительных проектах, требующих надежного крепления инженерных коммуникаций.

Преимущества наших креплений:

Мы предлагаем крепления, изготовленные на современном европейском оборудовании, что гарантирует высокое качество и долговечность. Наши изделия отличаются:

  • Высокой прочностью и надежностью: Способны выдерживать значительные нагрузки и вибрации.
  • Коррозионной стойкостью: Изготовлены из материалов, устойчивых к воздействию агрессивных сред.
  • Простотой монтажа: Быстрый и удобный монтаж, сокращающий время и затраты на установку.
  • Долговечностью: Гарантируют длительный срок службы без необходимости замены.

Условия сотрудничества:

Мы работаем с производственными предприятиями и предлагаем:

  • Наличие на складе и под заказ.
  • Быстрая доставка по всей Беларуси.
  • Подготовка коммерческого предложения в течение 30 минут.
  • Редкие позиции в наличии.

Свяжитесь с нами, чтобы получить подробную информацию и заказать крепление четырех трубопроводов к железобетонной колонне. Мы гарантируем высокое качество продукции и индивидуальный подход к каждому клиенту!

Прямые поставки

без посредников

Отсрочка платежа

до 30 дней

Редкие позиции

в наличии и под заказ

Быстрая доставка

за 1-2 дня

Вы смотрели