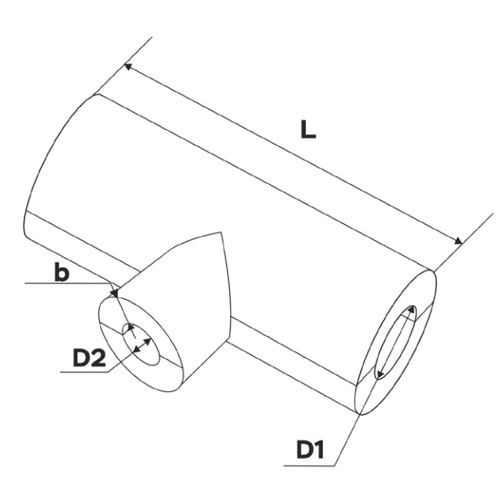
Теплоизоляционные переходные тройники

Не нашли нужный товар? Обратитесь с заявкой на наш электронный адрес: info@kastmiron.by 
В наличии на складе все ГОСТ, ТУ, DIN! Изготавливаем и привозим под заказ Ваши размеры.

Теплоизоляционные Переходные Тройники: Надежное Решение для Ваших Проектов

Компания "Кастмирон" предлагает широкий ассортимент высококачественных теплоизоляционных переходных тройников, предназначенных для эффективной изоляции трубопроводов и обеспечения бесперебойной работы инженерных систем. Наши тройники – это надежное решение для различных отраслей промышленности, строительства и энергетики. Они гарантируют сохранение тепла, предотвращают потери энергии и обеспечивают долговечность ваших систем.

Что такое теплоизоляционные переходные тройники? Это специальные фитинги, используемые для соединения труб различного диаметра или материала, при этом обеспечивая непрерывную теплоизоляцию. Они незаменимы в системах отопления, вентиляции, кондиционирования и технологических процессах, где требуется предотвращение тепловых потерь и поддержание стабильной температуры.

Области применения:

Теплоизоляционные переходные тройники находят широкое применение в различных сферах:

  • Промышленность: В технологических процессах, требующих поддержания стабильной температуры, например, в химической, нефтегазовой и пищевой промышленности.
  • Строительство: В системах отопления и водоснабжения зданий, для минимизации тепловых потерь и повышения энергоэффективности.
  • Энергетика: В тепловых сетях и электростанциях, для обеспечения надежной работы оборудования и снижения затрат на энергоресурсы.
  • Сельское хозяйство: В системах обогрева теплиц и животноводческих комплексов.

Преимущества наших теплоизоляционных переходных тройников:

Мы предлагаем только высококачественные изделия, изготовленные на современном европейском оборудовании. Это гарантирует:

  • Высокую прочность и надежность: Наши тройники выдерживают высокие температуры и давления, обеспечивая долговечность работы системы.
  • Эффективную теплоизоляцию: Минимизируют потери тепла, что способствует экономии энергии и снижению затрат.
  • Простоту монтажа: Тройники легко устанавливаются и интегрируются в существующие системы.
  • Широкий выбор размеров и модификаций: Мы предлагаем тройники различных диаметров и материалов, чтобы удовлетворить потребности любого проекта.

Почему стоит выбрать "Кастмирон"?

Мы предлагаем:

  • Большой выбор в наличии и под заказ. Даже редкие позиции доступны на нашем складе.
  • Быстрая доставка по всей Беларуси. Мы ценим ваше время и доставляем заказы в кратчайшие сроки.
  • Сотрудничество с производственными предприятиями. Мы предлагаем выгодные условия для оптовых покупателей.
  • Подготовка коммерческого предложения в течение 30 минут. Мы ценим ваше время и оперативно отвечаем на ваши запросы.

Свяжитесь с нами прямо сейчас, чтобы получить консультацию специалиста и заказать теплоизоляционные переходные тройники. Мы поможем вам подобрать оптимальное решение для вашего проекта и обеспечить бесперебойную работу ваших инженерных систем. Звоните или оставляйте заявку на сайте – мы всегда рады помочь!

Прямые поставки

без посредников

Отсрочка платежа

до 30 дней

Редкие позиции

в наличии и под заказ

Быстрая доставка

за 1-2 дня

Вы смотрели
от 10.00 р.